本公司產品一律實行終身服務,三包期內免費服務
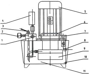
工作壓力:0-80MPa 額定流量:0.8L/min-20Lmin 電機功率:1.1-15KW 油箱容量:12-200L 形狀尺寸(長×寬×高):384×280×620(DBD0。8M) DBD系列電動泵站是由定量柱塞泵、控制閥、油箱、電機、儀表等組合成的一個自力的液壓動力裝配,本泵站具有停機保壓性能、單油路進回油性能。
1、安全閥2、出油口(M14X1.5或JZT-Φ6膠管插座)3、卸荷閥4、壓力表 5、電機6、手把7、空氣濾清器8、油窗9、高壓泵10、放油螺11、油 箱
Copyright © 2020 德州巨力液壓機具有限公司 版權所有
電話:0534-2491181 郵箱:fjinsh@163.com
地址:德州市新華工業(yè)園76號
魯ICP備11025411號-3 魯公網(wǎng)安備 37140402000173號